Canon ha depositato negli Stati Uniti un brevetto relativo ad array mobili di microlenti nei sensori d'immagine. Il brevetto nr. 9201289 B2 è stato compilato il 27 dicembre 2013 e depositato l'1 dicembre 2015 scorso.
In questo brevetto si è sviluppata una tecnologia per la mobilità delle microlenti del sensore per adattarsi alla lente principale ed un metodo per controllare il loro movimento.
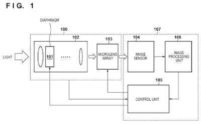
Il primo schema a blocchi delle parti chiamate in causa da questo brevetto è dato dalla seguente figura:
Cioè l'unità di controllo riceve le informazioni dalla lente principale e agisce di conseguenza direttamente sull'array delle microlenti posto davanti al sensore.
Lo schema a blocchi di un secondo metodo operativo è dato dalla seguente figura:
In questo caso l'unità di controllo non agisce direttamente sull'array delle microlenti ma direttamente sul sensore.
Anche questo brevetto si inquadra nell'ambito dell'attività di Canon per il miglioramento della tecnologia dei sensori, tecnologia che il marchio deve assolutamente migliorare per concorrere al meglio con gli agguerriti avversari che si ritrova in questo periodo.


Nessun commento:
Posta un commento